
|
|
Materiały informacyjne – odporność na zaparowanie w kontekście komfortu widzenia i bezpieczeństwa pracy
Opracował: dr inż. Grzegorz Owczarek
Co to są środki ochrony oczu i twarzy?
Wśród wielu podziałów stosowanych dla środków ochrony oczu i twarzy można wyróżnić podział na środki ochrony do użytku zawodowego i pozazawodowego.
Środki ochrony oczu i twarzy do zastosowań zawodowych powinny być stosowane wszędzie, gdzie występują następujące zagrożenia:
- uderzenie (np. odpryski ciał stałych),
- promieniowanie optyczne (np. promieniowanie powstające w procesach spawalniczych, olśnienie słoneczne, promieniowanie laserowe),
- pyły i gazy (np. pył węglowy lub aerozole szkodliwych substancji chemicznych)
- krople i rozbryzgi cieczy (np. rozbryzgi powstające podczas przelewania substancji ciekłych),
- stopione metale i gorące ciała stałe (np. odpryski stopionych metali powstające w procesach hutniczych),
- łuk elektryczny (np. powstający podczas prowadzenia prac pod napięciem).
Środki ochrony oczu i twarzy do zastosowań zawodowych dzielimy na cztery następujące kategorie:
- okulary ochronne,
- gogle ochronne,
- osłony twarzy,
- osłony spawalnicze (do tej kategorii ochron oczu zalicza się spawalnicze tarcze, przyłbice, gogle i kaptury).
W środkach ochrony oczu wymienionych kategorii montuje się wizjery, szybki ochronne, siatki lub filtry (do grupy filtrów zaliczamy: filtry spawalnicze, chroniące przed nadfioletem, chroniące przed podczerwienią, chroniące przed olśnieniem słonecznym, filtry chroniące przed promieniowaniem laserowym). Ochrony oczu mogą być również elementem sprzętu ochrony układu oddechowego (wizjery w aparatach powietrzno-butlowych) lub środków ochrony głowy (osłony montowane do przemysłowych hełmów ochronnych). Środki ochrony oczu wszystkich kategorii składają się z części przeziernej (wizjery, szybki, siatki lub filtry) oraz z ramki (okulary i gogle) lub korpusu wraz z nagłowiem (osłony).
Najpowszechniej stosowaną ochroną oczu są okulary ochronne. Wskazane jest, aby okulary ochronne miały osłonki zabezpieczające przed dostaniem się niebezpiecznych rozbryzgów cieczy lub odprysków ciał stałych od strony czoła. Przykładowy model takich okularów ochronnych przedstawiono na rysunku 1.
Rys. 1. Okulary ochronne
Jeśli ze względu na rodzaj zagrożenia wymagana jest szczelniejsza ochrona oczu, należy stosować gogle ochronne. Ich konstrukcja zapewnia ścisłe przyleganie do twarzy użytkownika, co sprawia, że gogle mogą być stosowane także do ochrony przed czynnikami biologicznymi. Należy jednak pamiętać, że systemy wentylacji gogli mogą bardzo różnić się między sobą. Na rysunku 2 przedstawiono typowe gogle ochronne.
Rys. 2. Gogle ochronne
Osłony twarzy chronią całą twarz, a duża powierzchnia ochronna minimalizuje prawdopodobieństwo przeniknięcia do wnętrza niebezpiecznych rozbryzgów cieczy. Osłony twarzy można stosować również wraz z okularami (ochronnymi lub korekcyjnymi), goglami oraz niektórym sprzętem służącym do ochrony układu oddechowego. Na rysunku 3 przedstawiono typową osłonę twarzy.
Rys. 3. Osłona twarzy
Ostatnią podstawową kategorią środków ochrony oczu są osłony spawalnicze, czyli sprzęt zapewniający ochronę użytkownika przed szkodliwym promieniowaniem optycznym i innymi specyficznymi zagrożeniami powstającymi podczas spawania i/lub w technikach pokrewnych. Do ochron spawalniczych zalicza się: przyłbice spawalnicze, tarcze spawalnicze, gogle i okulary oraz kaptury spawalnicze.
Podczas uprawiania dyscyplin sportowych, takich jak np. narciarstwo, żeglarstwo, pływanie oraz turystyki rowerowej zalecane jest stosowanie odpowiednich okularów lub gogli. Zarówno gogle jaki i okulary przeznaczone do uprawiania sportów mogą w niekorzystnych warunkach temperatury i wilgotności ulegać zaparowaniu. Zjawisko zaparowania powodujące znaczne ograniczenie widzenia może stwarzać zagrożenie wypadkowe, szczególnie podczas prowadzenia pojazdów oraz jazdy na nartach lub snowboardzie. Poniżej (rysunek 4) przedstawiono przykłady okularów oraz gogli stosowanych podczas uprawiania wybranych dyscyplin sportowych.
![]() (A) Gogle narciarskie | ![]() (C) Gogle pływackie |
![]() (A) Okulary przeciwsłoneczne (np. do turystyki rowerowej lub żeglarstwa) | |
Rys. 4. Przykłady ochron oczu do zastosowań pozazawodowych
Wspólnym elementem dla większości opisanych powyżej typów środków ochrony oczu jest szybka ochronna. Ponieważ jej podstawowym zadaniem jest ochrona przed uderzeniami nazywana jest często szybką przeciwodpryskową, a ochrony, w których jest montowana przeciwodpryskowymi okularami, goglami lub osłonami twarzy. Jeśli szybka ochronna posiada również właściwości filtracyjne (np. osłabia natężenie promieniowania nadfioletowego) jest ona również filtrem. Kształt szybki ochronnej różni się zasadniczo w okularach, goglach i osłonach twarzy. Do budowy szybek ochronnych stosowany jest poliwęglan (PC), polimetakrylan metylu (PMMA) lub octan celulozy (CA) o grubościach od 0,25 mm do 3 mm. Podstawowe właściwości chemiczne wymienionych materiałów przedstawiono w tabeli1.
Tab.1. Podstawowe właściwości fizyko – chemiczne
| Lp. | Nazwa | Skróty | Surowiec | Budowa | Gęstość d [g/cm3] | Współ. załamania światła n | Temp. stosowania TP [°C] | Rozpuszczalność1) | |||||
| A | B | C | D | E | F | ||||||||
| 1 | Polime- takrylan metylu (pleksi) | PMMA | Metakry- lan metylu | ![]() | 1,19 | 1,49 | - 20...+90 | N | R | R | P | N | P |
| 2 | Poliwę- glan | PC, PW | COOCl2 +dian | ![]() | 1,20 | 1,59 | - 70...+130 | N | P | P | P | N | R |
| 3 | Octan celulozy | CA | Ester kwasu octowego i celulozy | [(C6H7O2)(OOCCH3)3]n | 1,3 | 1,48 | - 40...+70 | N | P | N | N | R | R |
1) Opis rozpuszczalności w różnych rozpuszczalnikach: A – woda, B – aceton, C – benzen, D – eter, E – kwasy, F –zasady;
N – nie rozpuszcza się, P – rozpuszcza się powoli i pęcznieje, R – rozpuszcza się
Dlaczego środki ochrony oczu i twarzy mogą ulegać zaparowaniu?
Zawartość pary wodnej w powietrzu nazywa się jego wilgotnością, którą podaje się zwykle w jednostkach względnych, przyjmując za 100% maksymalną zawartość pary wodnej w określonej temperaturze, od której zaczyna się w danych warunkach jej skraplanie. Zawartość wilgoci w powietrzu na terenie otwartym zależy od warunków atmosferycznych (opady i temperatura). Natomiast zawartość pary wodnej w powietrzu w pomieszczeniach zależy od wielu czynników:
- od wilgotności powietrza na zewnątrz,
- od sposobu ogrzewania i wentylacji,
- od liczby osób przebywających w pomieszczeniu i rodzaju ich aktywności,
- od innych czynników takich jak źródła wilgoci (np. gotująca się woda, procesy technologiczne wydzielające lub pochłaniające wodę).
Obszar skraplania pary wodnej zobrazowano na rysunku 5 przedstawiającym wykres zależności wilgotności powietrza od temperatury.
Rys. 5. Zależność wilgotności powietrza od temperatury
(http://www2.proclima.com/media/gfx,372,372,00/proclimapl/tauwasser.png)
| Wilgotność w pomieszczeniach, gdzie na stałe przebywają ludzie, powinna mieścić się w zakresie od 40 do 60%. |
W normalnych warunkach, na powierzchni wielu ciał stałych (np. szkło, niektóre tworzywa sztucznie, metale, tkaniny itp.) wystawionych na kontakt z powietrzem powstaje cienka warstwa wody o grubości rzędu od 1 do 10 cząsteczek wody. Warstwa ta zwykle nie jest zauważalna. Powstaje na skutek osadzania się wilgoci z powietrza na powierzchni i jest utrzymywana na niej w wyniku oddziaływań słabych:
- wiązań wodorowych,
- oddziaływań elektrostatycznych.
Powierzchnie, które są zdolne do oddziaływań z cząsteczkami wody poprzez tworzenie wiązań wodorowych, oddziaływań elektrostatycznych i Van Der Waalsa zwykle mają większą tendencję do zaparowywania się. Powierzchnie materiałów, z których wykonane są środki ochrony oczu i twarzy mają również tendencję do zaparowania
| Wilgoć w większych ilościach może się osadzać na powierzchni w formie mgiełki lub kropel. Mgiełka osadzająca się na np. szybach samochodowych lub okularach jest zwykle nieprzeźroczysta, co popularnie nazywa się zaparowywaniem. |
Mgiełka ta to w istocie bardzo drobne i równomiernie rozmieszczone kropelki wody, na których rozprasza się światło. To czy wilgoć osadzi się w formie mgiełki czy w formie większych kropel, które nie utrudniają widoczności (jeśli nie znajdują się w polu widzenia), zależy od szybkości tego osadzania oraz od własności samej powierzchni.
Problem tworzenia warstwy wilgoci na powierzchni ciał stałych, szkła oraz tworzyw sztucznych dotyczy również urządzeń optycznych oraz środków ochrony oczu i twarzy, a szczególności okularów, gogli i osłon twarzy, stosowanych w warunkach dużej wilgotności powietrza lub możliwości zaparowania głownie w wyniku:
- pocenia się użytkownika (problem dotyczy głownie gogli ochronnych, które ze względu na swoją konstrukcję ściśle przylegają do twarzy użytkownika, a systemy wentylacji wbudowane w gogle nie są w stanie odprowadzać nadmiaru wilgoci będącej wynikiem pocenia się),
- pracy polegającej na przemieszczaniu się z miejsc o rożnej temperaturze i wilgotności.
| Problem zaparowania jest niezmiernie istotny dla wszystkich użytkowników stosujących środki ochrony oczu i twarzy. |
Zaparowanie wizjerów i szybek ochronnych stosowanych w środkach ochrony oczu (okulary, gogle i osłony twarzy) znacznie pogarsza komfort pracy, a niejednokrotnie ją uniemożliwia.
Z uwagi na fakt, że liczba osób zatrudnionych w różnych sektorach przemysłu, zawodach medycznych oraz wojsku i policji, mogących na co dzień stosować środki ochrony oczu szacowana jest na 4 miliony (stanowi to 30% wszystkich zatrudnionych w Polsce), zaparowanie jest problemem, który może negatywnie wpływać nie tylko na komfort widzenia, lecz również ma bezpieczeństwa pracy. Trudno bowiem przez zaparowane okulary ochronne prawidłowo i bezpiecznie wykonywać takie czynności, jak np. montaż instalacji elektrycznych lub załadunek towarów w magazynach wysokiego składowania (operatorzy wózków widłowych).
Zwiększająca się świadomość społeczeństwa w zakresie bezpieczeństwa spowodowała, że gwałtownie wzrosła również liczba użytkowników środków ochrony oczu przeznaczonych do użytku pozazawodowego (okulary do pływania, uprawiania sportów, itp.).
Na rysunku 6 przedstawiono zaparowaną osłonę twarzy, która była użytkowana w pomieszczeniu o dużej wilgotności powietrza.
Rys. 6. Zaparowana osłona twarzy
Rysunek 7 przedstawia fotografię powierzchni okularów, na których znajdują się krople cieczy oraz warstwa mgiełki.
![]() (B) Krople cieczy na powierzchni okularów | ![]() (B) Zaparowanie powierzchni okularów |
Jak uniknąć zaparowania?
| Aby uniknąć efektu zaparowania, należy tak zmodyfikować powierzchnię szybki ochronnej, aby zmniejszyć do minimum oddziaływanie szybki w wodą. Wówczas osadzająca się woda ma tendencję do szybszego spływania z powierzchni lub tworzenia dużych kropel.
Modyfikacja powierzchni polega na naniesieniu na powierzchnię okularów substancji zapobiegającej zaparowaniu. |
Stosuje się tu zazwyczaj albo stałe warstwy z substancji hydrofobowych (odpychających wodę – np. polietylen), albo środki oparte zwykle na tłuszczach lub zawiesinach polimerów. Na rysunku 8 przedstawiono sposób nałożenia na powierzchnię okularów ochronnych warstwy zapobiegającej zaparowaniu.
![]() | Niewielką ilość płynu zapobiegającemu zaparowaniu rozpylana jest na powierzchni okularów.![]() |
![]() | Po chwili od rozprowadzenia płyn na powierzchni okularów należy wytrzeć je do sucha.![]() |
![]() | Za pomocą miękkiej chusteczki płyn rozprowadzany jest na całej powierzchni okularów.![]() |
![]() | Ocenić jakość powierzchni okularów |
Rys. 8. Sposób nałożenia na powierzchnię okularów ochronnych warstwy zapobiegającej zaparowaniu
Jak sprawdza się odporność na zaparowanie?
Najbardziej skutecznym sposobem pomiaru, odzwierciedlającym stopień zaparowania jest określenie ilości światła które uległo rozproszeniu po przejściu przez zaparowaną próbkę w stosunku do ilości światła przechodzącego przez próbkę niezaparowaną.
Dla zilustrowania faktu znacznej różnicy w rozpraszaniu światła przez niezaparowane i zaparowane okulary przedstawiono fotografię wiązki lasera przechodzącego przez okulary ochronne (rysunek 9).
![]() (A) Wiązka promieniowania lasera przechodząca przez zaparowane okulary ochronne | ![]() (B) Wiązka promieniowania lasera przechodząca przez niezaparowane okulary ochronne |
Ponieważ jednak pomiar światła rozproszonego wymaga zastosowania urządzeń pozwalających na sumowanie wszystkich składowych rozproszenia – tzw. sfery całkujące, o wiele wygodniej jest mierzyć ilość światła, która nie uległa rozproszeniu na zaparowanej próbce. Pomiar ilości światła nierozproszonego przed i po zaparowaniu badanej próbki można więc odnieść do jakości widzenia przez próbkę. Określając ilość światła nierozproszonego przed i po zaparowaniu próbki nie można jednak mówić o pełnej ocenie zaparowania. Istotnym jest oczywiście czas, w jakim zmiany te będą rejestrowane, przy określonych warunkach otoczenia próbki (temperatura, wilgotność). Parametrem określającym odporność na zaparowanie nie może więc być jedynie ocena ilości światła nierozproszonego, lecz czas, po jakim obserwowana jest jego zmiana na określonym (przyjętym w wyniku badań empirycznych poziomie). Metody badania zaparowania, których celem jest określenie odporności na zaparowanie elementów optycznych muszą więc uwzględniać następujące elementy:
- możliwość zdefiniowania mierzalnego parametru, którego wartość odpowiada grubości warstwy pary wodnej na powierzchni badanej próbki, a jednocześnie nie zależy od charakterystyki widmowej badanego elementu,
- możliwość pomiaru/monitorowania czasu, w którym obserwowane są zmiany w wartości zdefiniowanego wcześniej parametru.
W celu wyjaśnienia przydatności opisanej powyżej zasady do oceny stopnia zaparowania elementów optycznych należy odnieść się do zagadnień z zakresu podstaw optyki. Wiązka światła przechodząc, przez dowolny element optyczny ulega trzem zasadniczym procesom, tj. transmisji i rozproszeniu do przodu (T), odbiciu i rozproszeniu do tyłu (R) oraz absorpcji (A). Podstawowe równanie bilansu energetycznego wyraża zależność między transmisją, odbiciem i absorpcją, następującym wzorem:
A + R + T =1 (1)
Zasadę tą zilustrowano na rysunku 10
Rys. 10. Element optyczny i wiązka światła. (1) – próbka elementu optycznego, (2) – wiązka padająca, (3) – wiązka przechodząca, (4) – rozproszenie wsteczne, (5) – część światła zaabsorbowana w próbce, (6) – rozproszenie do przodu.
W praktyce przyjęto, że parametrem charakteryzującym stopień zaparowania jest tzw. współczynnik przepuszczania światła nierozproszonego (ang. non diffused transmittance value). Współczynnik ten zdefiniowany jest w normie EN 168: 2002, w następujący sposób:
(2)gdzie :
Φb - strumień świetlny, w przypadku próbki zaparowanej,
Φu - strumień świetlny mierzony przed zaparowaniem próbki.
Ponieważ w pomiarowym układzie optycznym wiązka światła przechodzi dwukrotnie przez próbkę, to przy pomiarze wyznacza się τr2.
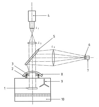
Mierząc zmiany wartości współczynnika przepuszczania światła nierozproszonego można więc oceniać stopień zaparowania dla próbek o różnych charakterystykach widmowych przepuszczania. Wprowadzenie definicji „współczynnika światła nierozproszonego”, która zakłada, że po stronie próbki przeciwnej do padającej wiązki jest „na wyjściu” 100% strumienia świetlnego w przypadku, gdy próbka nie jest zaparowana, sprawia, że niezależnie od charakterystyki widmowej badanych próbek otrzymamy ten sam rezultat, jeśli tylko próbki będą tak samo podatne na zaparowanie. Koncepcję stanowiska badawczego przedstawiono pozwalającego na ocenę stopnia zaparowania elementów przeziernych środków ochrony oczu i twarzy, wykorzystujące zasadę pomiaru „światła nierozproszonego” przedstawiono na rysunku 11.
Rys. 11. Koncepcja stanowiska badawczego do wyznaczania zmiany wartości współczynnika przepuszczania „światła nierozproszonego” przez elementy optyczne środków ochrony oczu i twarzy (1 Zwierciadło; 2 Pierścień osadzający do próbek ; 3 Miękki uszczelniający pierścień gumowy; 4 Laser; 5 Dzielnik wiązki; 6 Przesłona ; 7 Czujnik do pomiaru zmian „światła nierozproszonego”; 8 Badana próbka; 9 Wentylator wymuszający obieg powietrza; 10 Kąpiel wodna)
Przeprowadzając badania zgodnie z opisaną metodą przyjmuje się, że badane próbki są odporne na zaparowanie jeśli czas do momentu, w którym kwadrat stosunku Φb (strumień świetlny próbki zaparowanej) do Φu (strumień świetlny mierzony przed zaparowaniem próbki) spadnie poniżej 80% wartości dla niezaparowanej próbki wynosi nie przekroczy 8s.
| W Centralnym Instytucie Ochrony Pracy – Państwowym Instytucie Badawczym (CIOP-PIB) istnieje możliwość oceny odporności na zaparowanie środków ochrony oczu i twarzy zgodnie z wymaganiami PN-EN 166:2005 „Ochrona indywidualna oczu. Wymagania”. |
Fotografię stanowiska zbudowanego w oparciu o schemat z rysunku 3 przedstawiono na rysunku 12.
Rys. 12. Stanowisko do badania odporności środków ochrony indywidualnej oczu na zaparowanie
Ostatnio udostępnione tematy
w BHP-Info:
- INTERGON - ocena ryzyka rozwoju dolegliwości m-s
- MOBBING w pracy
- BHP pracy platformowej
- Symulatory VR w BHP
- Quady w pracy - narażenie kierowcy na drgania
- Montaż w przemyśle lotniczym
- Osłony w meblarstwie
- Praca zdalna przy komputerze
- Kleszcze i borelioza w pracy
- Praca mobilna
- Warunki Pracy w Polsce i w UE 2018
- Zarządzanie BHP wg normy PN-ISO 45001
- Depresja w pracy
- Konflikty w pracy
- SMOG - Ochrona przed SMOGiem
- Zagrożenie wybuchem i pożarem
- Ochrona radiologiczna w rentgenodiagnostyce
- BHP w inteligentnym środowisku pracy 4.0
- Wypadki w szkole
- Wypadki przy pracy rolniczej
- Diabetyk w pracy
- Ocena drabin - wymagania norm (2017)
- Ergonomia stanowisk komputerowych
- Zarządzanie wiekiem pracowników - wiedza i praktyka
- Profilaktyka przewlekłej niewydolności żylnej nóg
- Bezpieczne przenoszenie ładunków
- BHP - Elektrownie wiatrowe
- BHP w służbach mundurowych
- Odzież ostrzegawcza
- Ochrona przed upadkiem z wysokości
- BHP w energetyce słonecznej
- BHP operatora maszyn ręcznych z napędem elektrycznym













