| Lista serwisów działu Prace CIOP-PIB |
|
| Czynniki zagrożeń zawodowych | |
| Poważne awarie przemysłowe | |
| Wartości dopuszczalne czynników szkodliwych i uciążliwych | |
| Środki ochrony indywidualnej | |
| Wypadki przy pracy | |
| Bezpieczeństwo i higiena pracy - ogólnie | |
| Zarządzanie bezpieczeństwem i higieną pracy | |
| Ergonomia | |
| Psychologia i socjologia pracy | |
| Fizjologia i higiena pracy | |
| Modelowanie i badania symulacyjne układów złożonych | |

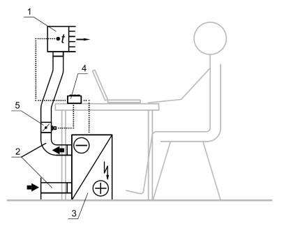
Moduł wentylacji indywidualnej
W ramach projektu opracowano moduł wentylacji indywidualnej składający się z (rys.1.): nawiewnika, połączonego z nim przewodu doprowadzającego powietrze z elementu grzewczo-chłodzącego, umieszczonej na przewodzie doprowadzającym powietrze przepustnicy oraz połączonego z przepustnicą regulatora prędkości i temperatury powietrza.

Rys.1. Schemat modułu PV (1 – nawiewnik, 2 – przewód doprowadzający powietrze, 3 – moduł grzewczo-chłodzący, 4-regulator prędkości i temperatury powietrza, 5-przepustnica.)
Opracowane urządzenie umożliwia uzyskanie oddychania użytkownika wyłącznie świeżym powietrzem a dodatkowo, poprzez sterowanie temperaturą i prędkością powietrza nawiewanego, możliwe jest ogrzewanie lub chłodzenie ciała człowieka.
Jednocześnie urządzenie to jest pozytywnie odbierane przez użytkowników. W badaniach weryfikacyjnych dotyczących subiektywnych odczuć użytkowników, w których brało udział 20 ochotników - mężczyzn w wielu 20-30 lat wykonujących podczas badania pracę biurową, określono, ze moduł PV umożliwia osiągnięcie komfortu cielonego całego ciała i poszczególnych jego części zarówno w opcji grzania jak i chłodzenia (rys. 2,4). Jednocześnie inne odczucia subiektywne dotyczące jakości powietrza (rys.3, 5) również zawierały się w granicach komfortu.
Cenną zaletą opracowanego modułu wentylacji indywidualnej jest możliwość samodzielnego dostosowania kierunku nawiewanego powietrza, zarówno poprzez regulację żaluzji zastosowanych w nawiewniku, jak również ustawienia całego nawiewnika.

Rys.2. Odczucie cieplne całego ciała i lokalne na poszczególnych jego częściach podczas 3 godzinnej pracy w środowisku kształtowanym przez PV w opcji ogrzewania

Rys.3. Inne odczucia użytkowników podczas 3 godzinnej pracy w środowisku kształtowanym przez PV w opcji ogrzewania

Rys.4. Odczucie cieplne całego ciała i lokalne na poszczególnych jego częściach podczas 3 godzinnej pracy w środowisku kształtowanym przez PV w opcji chłodzenia

Rys.5. Inne odczucia użytkowników podczas 3 godzinnej pracy w środowisku kształtowanym przez PV w opcji chłodzenia
Podsumowując należy zauważyć, że opracowany moduł wentylacji indywidualnej umożliwia dopływ świeżego powietrza do użytkownika a jednocześnie użytkownik ma możliwość indywidualnej regulacji temperatury i prędkości nawiewanego powietrza w szerokim zakresie, a także możliwości zmiany kierunku nawiewanego powietrza i wysokości ustawienia nawiewnika.
Zobacz też
Serwis „Bezpieczniej”
Wspomaganie prowadzenia systemowej profilaktyki fizycznych zagrożeń środowiskowych.
Serwis
"BHP dla Mikroprzedsiębiorstw"
Serwis informacyjny dotyczący zasad oraz podstaw prawnych CERTYFIKACJI
i oceny zgodności wyrobów w Polsce i Unii Europejskiej
Badanie wypadków przy pracy
Autorzy: B. Krzyśków, S. Ordysiński, Z. Pawłowska, M. Pęciłło-Pacek,
CIOP-PIB, 2016 r.
(podręcznik - format PDF)