Wykaz Projektów
- Opracowanie metody badania hełmów ochronnych w zakresie skuteczności ochrony przed uderzeniami poruszających się obiektów
- Opracowanie metody badania komfortu użytkowania obuwia ochronnego z wykorzystaniem modelu sztucznej stopy
- Upowszechnianie międzynarodowych zasobów informacyjnych sieci Europejskiej Agencji Bezpieczeństwa i Zdrowia w Pracy w środowisku użytkowników krajowych.
- Opracowanie techniki nanoszenia filtrujących powłok interferencyjnych na wizjerach chroniących przed szkodliwym promieniowaniem podczerwonym na gorących stanowiskach pracy
- Zastosowanie systemu automatycznej identyfikacji do monitorowania czasu użytkowania wybranych środków ochrony indywidualnej w celu wspomagania wypełniania obowiązków pracodawców wynikających z dyrektywy 89/656/EWG
- Aktywność zawodowa kobiet z niepełnosprawnością
- Metoda badania odporności na przenikanie ciekłych substancji chemicznych przez materiały barierowe odkształcane w warunkach wymuszonych zmian dynamicznych
- Kształtowanie probezpiecznych postaw pracowników i pracodawców poprzez informacyjne kampanie społeczne ukierunkowane na potrzeby wybranych środowisk
- Opracowanie narzędzi wspomagających wdrażanie w przedsiębiorstwach zasad społecznej odpowiedzialności biznesu (CSR) w obszarze bezpieczeństwa i higieny pracy
- Rozwój działań w obszarze bezpieczeństwa pracy na rzecz MŚP z wykorzystaniem Sieci Ekspertów ds. BHP certyfikowanych przez CIOP-PIB
- Aktywne układy dźwiękochłonno-izolacyjne sterowane algorytmami działającymi w oparciu o sieć neuronową i algorytm genetyczny
- Aktywne ochronniki słuchu sterowane algorytmem o stałych parametrach ustalonych z wykorzystaniem algorytmu genetycznego
- Interaktywny system do nauki prawidłowego użytkowania środków ochrony indywidualnej słuchu
- System zdalnego nadzoru prawidłowego użytkowania nauszników przeciwhałasowych
- Utworzenie i rozwój serwisu internetowego BEZPIECZNIEJ wspomagającego prowadzenie systemowej profilaktyki fizycznych zagrożeń środowiskowych
- Upowszechnianie wiedzy na temat bezpieczeństwa, higieny pracy i ergonomii wśród pracowników i pracodawców, z wykorzystaniem wybranych przedsięwzięć promocyjnych
- Wykorzystanie artystycznych środków przekazu do kształtowania postaw probezpiecznych w środowiskach uczniowskich i pracowniczych
- Opracowanie metodyki pomiaru parametrów fizycznych mikroklimatu pod odzieżą z wykorzystaniem systemu pomiaru, rejestracji i bezprzewodowej transmisji danych, do jej oceny w badaniach laboratoryjnych i użytkowych
- Badanie wpływu olśnienia na zdolność spostrzegania u osób starszych dla potrzeb określania ujednoliconego wskaźnika ograniczenia olśnienia (UGR) przy projektowaniu oświetlenia pomieszczeń pracy
- Działalność normalizacyjna w zakresie metod badań i kryteriów oceny stosowanych w obszarze bezpieczeństwa i higieny pracy oraz ergonomii
- Opracowanie znowelizowanych metod oznaczania 10 szkodliwych substancji chemicznych w powietrzu na stanowiskach pracy do oceny narażenia zawodowego.
- Opracowanie nowych metod oznaczania 12 szkodliwych substancji chemicznych występujących w powietrzu środowiska pracy planowanych do ujęcia w polskim wykazie NDS.
- Rozwój i utrzymanie kompetencji jednostki notyfikowanej oceniającej zgodność wyrobów z zasadniczymi wymaganiami bezpieczeństwa i ochrony zdrowia.
- Organizowanie i realizowanie krajowych i międzynarodowych programów porównań międzylaboratoryjnych w zakresie badania parametrów środowiska pracy, środków ochrony indywidualnej oraz maszyn.
- Zastosowanie technik rzeczywistości mieszanej do testowania optoelektronicznych urządzeń ochronnych wyposażonych w układ wizyjny.
- Opracowanie materiałów szkoleniowych i informacyjnych dotyczących wymagań wynikających z nowelizacji dyrektywy 89/686/EWG. Przeprowadzenie szkoleń oraz seminariów dla producentów, dystrybutorów środków ochrony indywidualnej i organów nadzoru rynku
- Badania nad zastosowaniem jonowych, elektroaktywnych materiałów polimerowych do konstrukcji odzieży chroniącej przed zimnem
- Poprawa bezpieczeństwa pracy spawaczy poprzez zastosowanie modułu rzeczywistości wzbogaconej wbudowanego w osłonę twarzy
- Opracowanie polimerowych sensorów temperatury i rozciągania do zastosowani w konstrukcji materiałów barierowych
- Badanie nad kształtowaniem mikroklimatu w obuwiu ochronnym na podstawie zmian parametrów przepływu krwi
- Opracowanie metody aplikacji bakterio- i grzybobójczych nośników funkcyjnych na struktury materiałowe stosowane w środkach ochrony indywidualnej
- Opracowanie modelowych rozwiązań detektorów zadziałania indywidualnego sprzętu chroniącego przed upadkiem z wysokości
- Utrzymanie i rozwój kompetencji technicznych akredytowanych laboratoriów badawczych i wzorcujących.
- Nadzór metrologiczny nad wyposażeniem pomiarowym stosowanym do badań laboratoryjnych w procesach oceny zgodności wyrobów oraz do badań związanych z kształtowaniem warunków pracy.
- Ocena zagrożenia nielaserowym promieniowaniem optycznym emitowanym przez sztuczne źródła na stanowiskach pracy.
- Określenie wymagań dotyczących odzieży motocyklowej stosowanej przez służby publiczne w celu zapewnienia komfortu termicznego.
- Indywidualnie modyfikowany ubiór do prac w zimnym środowisku.
- Opracowanie metody badania czasu zużycia rękawic chroniących przed olejami mineralnymi i wybranymi czynnikami mechanicznymi.
- Opracowanie metodyki badania pyłowości nanoobiektów.
- Opracowanie wytycznych do oceny i ograniczania ryzyka wypadkowego przy wykonywaniu robót montażowych w budownictwie.
- Opracowanie zasad zapobiegania obchodzeniu przez pracowników urządzeń ochronnych i osłon stosowanych do maszyn w celach prewencji wypadkowej.
- Walidacja wybranych testów temperamentu i osobowości dla potrzeb oceny predyspozycji do wykonywania zawodu kierowcy.
- Opracowanie programu modyfikacji zachowań z uwzględnieniem cech temperamentalnych kierowców oraz wyróżnieniem specyfiki zagrożeń w transporcie drogowym.
- Ocena materiałów przeznaczonych do stosowania w ochronach zbiorowych przed hałasem ultradźwiękowym. Opracowanie baz danych.
- Wytyczne do wyznaczania rzeczywistego wskaźnika ochrony na stanowiskach pracy dla różnego typów sprzętu ochrony układu oddechowego.
- Opracowanie metody badania procesu przenikania rozpuszczalników organicznych w warunkach niskich temperatur przez barierowe materiały powleczone, modyfikowane nanonapełniaczami.
- Opracowanie metod oceny poziomu przemocy w pracy oraz sposobów jej przeciwdziałania.
- Ocena zawodowych zagrożeń elektromagnetycznych przy urządzeniach fizykoterapeutycznych.
- Ocena zagrożeń elektromagnetycznych związanych z wykorzystaniem mobilnych urządzeń łączności bezprzewodowej przez pracowników wybranych służb ratunkowych i mundurowych, na podstawie badań modelowych.
- Rozwój działalności Centrum Badań i Promocji Bezpieczeństwa Elektromagnetycznego Pracujących i Ludności (EM-Centrum) w kontekście wdrażania międzynarodowych wymagań do prawa pracy w Polsce.
- Narażenie młodych pracowników na psychospołeczne czynniki ryzyka występujące w środowisku pracy w sektorze usług hotelarskich i gastronomicznych oraz w sektorze informacja i komunikacja.
- Ocena obciążenia psychofizycznego pracowników na stanowiskach pracy związanych z wykonywaniem zadań o dużych wymaganiach percepcyjnych i decyzyjnych na przykładzie kontrolerów ruchu lotniczego.
- Ocena narażenia wynikającego z emisji substancji chemicznych z biurowych urządzeń drukujących i powielających.
- Ocena zagrożeń oraz identyfikacja niebezpiecznych substancji emitowanych w procesach otrzymywania wybranych tworzyw sztucznych i tkanin o zmniejszonej palności zawierających antypireny oraz nanocząstki.
- Opracowanie metody badania skuteczności działania wyciągów laboratoryjnych na stanowiskach pracy.
- Ocena narażenia pracowników konserwujących instalacje wentylacyjne na szkodliwe czynniki biologiczne i chemiczne.
- Ocena narażenia na szkodliwe substancje chemiczne występujące w powietrzu podczas konserwacji obrazów.
- Ocena narażenia zawodowego na szkodliwe czynniki mikrobiologiczne w muzeach i pracownikach konserwacji zabytków
- Opracowanie metody kompleksowej oceny ryzyka zawodowego w zakresie dolegliwości mięśniowow-szkieletowych.
- Opracowanie programów promujących aktywność ruchową wśród pracowników w celu zmniejszenia dolegliwości mięśniowo-szkieletowych i poprawy zdolności do pracy.
- Ocena szkodliwego działania nanomateriałów stosowanych w technologii tworzyw sztucznych metodami in vitro w celu profilaktyki zagrożeń.
- Ocena obciążenia zmiennością termiczną na wybranych stanowiskach pracy.
- Badanie reakcji układu krążenia na ciągłą i przerywaną ekspozycję na środowisko zimne.
- Kształtowanie klimatu akustycznego w odkrywkowych kopalniach surowców skalnych jako element rozwoju zrównoważonego.
- Ocena i sposoby zmniejszania narażenia na hałas nauczycieli muzyki.
- Opracowanie metody uwzględnienia niepewności pomiarów w ocenie ryzyka zawodowego związanego z narażeniem na hałas ultradźwiękowy.
- Ocena skuteczności ograniczenia hałasu impulsowego przez wkładki przeciwhałasowe.
- Ocena narażenia na drgania mechaniczne pracowników wykorzystujących pojazdy jednośladowe
- Zasady doboru środków prewencji metodą analiz stanowisk pracy w celu ograniczania zagrożeń urazowych w małych polskich przedsiębiorstwach budowlanych.
- Opracowanie zasad stosowania podsystemów transmisji danych w związanych z bezpieczeństwem systemach sterowania maszyn.
- Opracowanie zasad bezpieczeństwa dotyczących układów hydraulicznych w stacjonarnych maszynach przemysłowych.
- Badania i opracowanie rozwiązań organizacyjnych zmniejszających ryzyko wypadkowe wynikające z ruchu podnośnikowych wózków jezdniowych w transporcie wewnątrzzakładowym
- Ocena możliwości inicjacji zapłonu atmosfer wybuchowych o małych energiach zapłonu, na stanowiskach pracy, przez elektrostatyczne wyładowania ulotowe.
- Komputerowe narzędzia wykorzystujące techniki rzeczywistości wirtualnej VR do interaktywnego odwzorowania wybranych zagrożeń mechanicznych dla zapobiegania zdarzeniom wypadkowym przy obsłudze suwnicy.
- Aktualizacja Międzynarodowych Kart Charakterystyki Zagrożeń Zawodowych i oceny ryzyka dla potrzeb ukierunkowania doboru do zawodu i profilaktyki zagrożeń.
- Rozwój internetowej bazy wiedzy ChemPył wspomagającej prowadzenie oceny narażenia zawodowego na substancje chemiczne.
- Ocena działań podejmowanych w polskich przedsiębiorstwach ukierunkowanych na utrzymanie w zatrudnieniu pracowników starszych (50+).
- Opracowywanie i wydawanie międzynarodowego czasopisma naukowego International Journal of Occupational Safety and Ergonomics (JOSE).
- Opracowywanie i wydawanie krajowego czasopisma naukowego Podstawy i Metody Oceny Środowiska Pracy.
- Opracowywanie i wydawanie specjalistycznych wydawnictw i materiałów upowszechniających wiedzę z dziedziny bezpieczeństwa pracy i ergonomii.
- Rozwój i aktualizacja powszechnie dostępnego internetowego portalu informacyjnego w zakresie bezpieczeństwa i higieny pracy oraz ergonomii.
- Działalność informacyjna Krajowego Centrum Informacji o Bezpieczeństwie i Higienie Pracy (CIS) dla krajowych i zagranicznych użytkowników, w ramach współpracy z Międzynarodowym Centrum CIS-ILO i siecią innych Centrów CIS.
- Opracowywanie i wydawanie krajowego czasopisma popularnonaukowego Bezpieczeństwo Pracy. Nauka i Praktyka.
- Rozwój działalności Krajowego Punktu Centralnego Europejskiej Agencji Bezpieczeństwa i Zdrowia w Polsce, zgodnie z europejskimi priorytetami w zakresie informacji o bezpieczeństwie pracy i ergonomii.
- Opracowanie metod i narzędzi do badania warunków pracy z wykorzystaniem subiektywnych ocen narażenia zawodowego
- Koszty i korzyści działań skierowanych na ograniczenie absencji chorobowej związanej z pracą.
- Ocena możliwości powstawania szczególnie niebezpiecznych substancji chemicznych w warunkach pożarowych scenariuszy poważnych awarii w obiektach magazynujących chemikalia.
- Ocena toksycznego działania nanocząstek metali i tlenków metali metodami in vitro w celu profilaktyki zagrożeń
- Ocena składu chemicznego ultradrobnych cząstek stałych frakcji spalin biodiesla i ich właściwości toksycznych metodami in vitro dla celów profilaktyki
- Badanie procesu emisji nanoobiektów oraz ocena narażenia zawodowego podczas wytwa-rzania i stosowania nanomateriałów
- Nowe systemy recepturowe do produkcji ogniobezpiecznej elastycznej pianki poliuretanowej
- System ergonomicznego oświetlenia pośredniego z nowoczesnymi źródłami światła na stanowiskach pracy z monitorami ekranowymi
- Doskonalenie dostępu do dziedzinowych zasobów informacyjnych w bibliotecznym systemie komputerowym z wykorzystaniem Tezaurusa "Bezpieczeństwo pracy i ergonomii".
- Digitalizacja wybranych pozycji wydawnictw księgozbioru Biblioteki CIOP-PIB z dziedziny bezpieczeństwa i higieny pracy.
- Działalność naukowa i popularnonaukowa CIOP/CIOP-PIB w zakresie ochrony człowieka w środowisku pracy w wybranych wydawnictwach z lat 1950-2010, w kontekście zmian społeczno-gospodarczych.
- Weryfikacja i wzbogacanie o nowe treści materiałów edukacyjnych z zakresu bezpieczeństwa i higieny pracy dla wszystkich poziomów edukacji szkolnej, akademickiej i ustawicznej.
- Rozwój zakresu stosowania technik informatycznych wykorzystywanych w nauczaniu i szkoleniach w zakresie bezpieczeństwa i higieny pracy oraz ergonomii.
- Multimedialne wizualizacje wykonane w systemie CAD wybranych zagrożeń mechanicznych występujących w warsztatach samochodowych, w celu wspomagania szkoleń pracowników w zakresie bezpieczeństwa i higieny pracy.
- Utrzymanie i rozwój systemu dobrowolnej certyfikacji kompetencji osób i uznawania kompetencji jednostek edukacyjnych wpływających na kształtowanie warunków pracy w Polsce oraz wsparcie służby bezpieczeństwa i higieny pracy poprzez utrzymanie i rozwój Sieci Regionalnych Ośrodków BHP.
- Ocena możliwości zatrudniania osób niepełnosprawnych w zawodach uwzględnionych w "Przewodniku po zawodach".
- Szacowanie społecznych kosztów wypadków przy pracy i chorób zawodowych.
- Pogłębione analizy wypadków przy pracy w ramach Centrum Analiz Wypadkowych.
- Rozwój instrumentarium komputerowego oraz serwisów internetowych wspomagających prowadzenie działań z zakresu bhp dla mikro- i małych przedsiębiorstw.
- Rozwój i aktualizacja oprogramowania komputerowego wspomagającego zarządzanie bezpieczeństwem i higieną pracy w polskich przedsiębiorstwach.
- Rola związków zawodowych w kształtowaniu bezpieczeństwa i higieny pracy.
- Materiały wspomagające stosowanie procedur przeciwdziałania poważnym awariom uwzględniających zmiany przepisów UE oraz materiały wspomagające zarządzanie ryzykiem wystąpienia poważnych awarii w zakładach zagrażających poważną awarią przemysłową.
- Opracowanie metod i sposobów spełniających wymagania bezpieczeństwa chemicznego dla przechowywania towarów w magazynach, w szczególności w małych i średnich przedsiębiorstwach.
- Badanie rozległości wyładowań elektrostatycznych z powierzchni naelektryzowanych dielektryków dla potrzeb ochrony przeciwwybuchowej
- Badanie, ocena i podstawy do ograniczenia zagrożenia lotnymi frakcjami produktów destrukcji cieczy chłodząco- smarujących stosowanych do powierzchniowej obróbki metali
- Oddziaływanie wybranych nanocząstek glinokrzemianów stosowanych w produkcji nanokompozytów polimerowych na surfaktant płucny
- Badanie zjawisk jednoczesnego oddziaływania cząstek aerozoli cieczy i ciał stałych na sprawność układów filtracyjnych w procesach obróbki mechanicznej
- Ocena akustyczna pomieszczeń dydaktycznych przy niepełnej informacji o parametrach akustycznych z zastosowaniem metody SVD
- Badania parametrów akustycznych charakteryzujących pomieszczenia przeznaczone do komunikacji słownej w aspekcie poprawy warunków pracy na stanowiskach pracy
- Ocena narażenia na hałas operatorów nietechnologicznych źródeł ultradźwiękowych i opracowanie zasad profilaktyki
- Badania możliwości zastosowania materiałów inteligentnych przy opracowaniu adaptera do pomiaru parametrów drgań mechanicznych z uwzględnieniem czynników związanych z procesem pracy
- Ocena zagrożeń radiofalowym promieniowaniem elektromagnetycznym (RF-EMF) wybranych grup pracowników z wykorzystaniem pomiarów ekspozymetrycznych
- Kompleksowa ocena zagrożeń bezpieczeństwa i zdrowia w placówkach diagnostyki obrazowej na potrzeby profilaktyki
- Opracowanie metod pomiaru współczynnika pochłaniania dźwięku materiałów oraz izolacyjności akustycznej przegród w zakresie częstotliwości powyżej 5 kHz
- Ocena wrażliwości szczepów mikroorganizmów izolowanych z mgły olejowej na wybrane biocydy stosowane jako dodatki do cieczy obróbkowych w przemyśle maszynowym
- Rola efektu mikrofalowego w procesie sterylizacji ograniczającej zagrożenie związane ze skażonymi mikrobiologicznie materiałami budowlanymi
- Kompatybilność metod oceny wewnętrznego i zewnętrznego obciążenia układu mięśniowo-szkieletowego
- Badania wpływu oddziaływania wibracji miejscowej na czynność bioelektryczną mięśni kończyny górnej
- Ocena zagrożeń bezpieczeństwa i zdrowia przy obsłudze sieci elektroenergetycznych wysokiego napięcia na potrzeby profilaktyki
- Metody redukcji obciążenia termicznego z wykorzystaniem innowacyjnych związków zmiennofazowych (PCM) implementowanych w odzieży ochronnej
- Ocena zagrożeń biologicznych związanych z przetwarzaniem biomasy do celów energetycznych
- Ocena wpływu wieku i płci na zmęczenie pracowników na podstawie zapisu czynności elektrycznej mięśni
- Opracowanie modeli wymiany ciepła (kobiet i mężczyzn) oraz ocena interakcji cieplnych w oddziaływaniu osób na środowisko cieplne w pomieszczeniach
- Zasady projektowania i adaptacji miejsc pracy do możliwości i potrzeb osób z niepełnosprawnością ruchową i sensoryczną
- Badanie związków między stylem przywództwa, klimatem dla kreatywności, innowacyjnością i efektywnością pracy
- Badanie organizacyjnych czynników ryzyka przemocy w pracy i opracowanie metod przeciwdziałania ze szczególnym uwzględnieniem grupy kobiet
- Modele biodegradowalnych układów filtracyjnych do zastosowania w sprzęcie ochrony układu oddechowego
- Modelowe rozwiązania nanokompozytów polimerowych do zastosowania w materiałach dwufunkcyjnych chroniących przed olejami i czynnikami mechanicznymi
- Ocena związku psychospołecznych warunków pracy i cech osobowościowych pracowników z organizacyjną i indywidualną kulturą bezpieczeństwa w przedsiębiorstwach transportu drogowego
- Ocena i podstawy kształtowania czynników psychofizycznych i organizacyjnych pracy w rolnictwie w aspekcie poprawy bezpieczeństwa pracy
- Opracowanie modelu systemu natychmiastowego zadziałania ucieczkowego sprzętu do ochrony układu oddechowego przed tlenkiem węgla i poparzeniem dróg oddechowych do stosowania w podziemnych zakładach górniczych
- Opracowanie modeli numerycznych charakterystyk siła- wydłużenie dynamiczne podzespołów łącząco- amortyzujących dla symulacji zadziałania sprzętu chroniącego przed upadkiem z wysokości
- Aktywny układ chłodzący do stosowania pod odzieżą ochronną w gorącym środowisku pracy
- Komputerowe modele kończyny górnej z możliwością symulowania złamań oraz głowy z przemysłowym hełmem ochronnym dla potrzeb rekonstrukcji i zapobiegania wypadkom przy pracy
- System wspomagania rehabilitacji kończyn górnych z wykorzystaniem techniki rzeczywistości wirtualnej
- Metoda oceny ryzyka na etapie projektowania maszyn z zastosowaniem techniki rzeczywistości wirtualnej
- Wykorzystanie technik rzeczywistości wirtualnej do szkolenia górników w zakresie postępowania w czasie prac szczególnie niebezpiecznych
- Ocena funkcjonowania przedsiębiorstwa w obszarze BHP z wykorzystaniem wskaźników wynikowych i wiodących
- Rozwój systemu bodźców ekonomicznych w obszarze bezpieczeństwa pracy i ochrony zdrowia
- Ocena oddziaływania czynników środowiska pracy na absencję chorobową
- Opracowanie modelu matematycznego i oprogramowania komputerowego do badania procesów ewakuacji ludzi z budynków wielokondygnacyjnych z uwzględnieniem wybranych zjawisk krytycznych hamujących ruch ludzi
- Działalność Międzyresortowej Komisji ds. Najwyższych Dopuszczalnych Stężeń i Natężeń Czynników Szkodliwych dla Zdrowia w Środowisku Pracy
Streszczenie
Opracowanie modeli numerycznych charakterystyk siła- wydłużenie dynamiczne podzespołów łącząco- amortyzujących dla symulacji zadziałania sprzętu chroniącego przed upadkiem z wysokości
Kierownik projektu: dr inż. Krzysztof Baszczyński
Streszczenie projektu:
Projekt V.B.04: Opracowanie modeli numerycznych charakterystyk siła-wydłużenie dynamiczne podzespołów łącząco-amortyzujących dla symulacji zadziałania sprzętu chroniącego przed upadkiem z wysokości | |
Okres realizacji: | 1.01.2011 – 31.12.2012 |
Zadanie/etap 2.: | Opracowanie matematycznych modeli charakterystyk siła rozciągająca – wydłużenie wybranych podzespołów łącząco-amortyzujących do sprzętu chroniącego przed upadkiem z wysokości. Publikacja |
Główny wykonawca: | dr inż. Krzysztof Baszczyński – Centralny Instytut Ochrony Pracy – Państwowy Instytut Badawczy, Zakład Ochron Osobistych |
Z punktu widzenia bezpieczeństwa człowieka najważniejszymi wielkościami charakteryzującymi proces powstrzymywania spadania z wysokości są przebiegi czasowe siły hamującej oraz drogi powstrzymywania spadania. Dla potrzeb opracowania nowych konstrukcji sprzętu oraz konfigurowania systemów chroniących przed upadkiem z wysokości jest konieczne prowadzenie symulacji jego zachowania w dynamicznych warunkach powstrzymywania spadania. Warunkiem przeprowadzenia takiej symulacji metodami numerycznymi jest posiadanie odpowiednich modeli sprzętu chroniącego przed upadkiem z wysokości.
W ramach projektu opracowano metodę badania w warunkach dynamicznych charakterystyk siła obciążająca – wydłużenie wybranych podzespołów sprzętu chroniącego przed upadkiem z wysokości. Metoda opiera się na równoczesnej rejestracji obrazu wydłużenia obiektu badań oraz siły działającej w punkcie jego kotwiczenia do konstrukcji nośnej. Do potrzeb rejestracji wydłużeń zastosowano szybką kamerę cyfrową rejestrującą z prędkością 1000 klatek/s, a przebieg siły działającej w badanym sprzęcie mierzono za pomocą przetwornika pomiarowego siły współpracującego z systemem akwizycji danych. W ślad za opracowaniem metody zbudowano stanowisko badawcze bazujące na konstrukcji mechanicznej przyrządu w laboratorium Zakładu Ochron Osobistych CIOP-PIB. Opracowana metoda badawcza wraz ze stanowiskiem została poddana walidacji, która wykazała jej odpowiedniość do zaplanowanych zastosowań. Metodę badań i stanowisko wykorzystano w opracowanej procedurze badawczej przeznaczonej do określania wydłużeń dynamicznych podzespołów łącząco-amortyzujących sprzętu chroniącego przed upadkiem z wysokości, która będzie wdrożona do krajowego systemu badań i certyfikacji.
Przeprowadzono badania charakterystyk siła obciążająca – wydłużenie w warunkach dynamicznych wybranych obiektów wykonanych z lin i taśm włókienniczych stosowanych w sprzęcie chroniącym przed upadkiem z wysokości. Na potrzeby opracowania modeli numerycznych oprócz charakterystyk określanych w warunkach dynamicznych przeprowadzono również badania w warunkach statycznych, to znaczy obciążenia z prędkością od 10 do 1000 mm/min. Na podstawie uzyskanych wyników badań określono strukturę modelu reologicznego opisującego zachowanie wybranych rodzajów podzespołów łącząco-amortyzujących podczas powstrzymywania spadania. Strukturę modelu określono układem równań matematycznych opisujących ruch bryły sztywnej podczas powstrzymywania jej spadania.
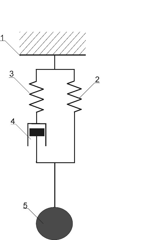
Projekt V.B.04. Model reologiczny układu tworzonego przez podzespół łącząco-amortyzujący ze sztywnym obciążnikiem: 1 – doskonale sztywna konstrukcja;
2 – element sprężysty o charakterystyce nieliniowej (k2);
3 – element sprężysty o liniowej charakterystyce (k1);
4 – element doskonale lepki (h);
5 – obciążnik sztywny o masie (m)
Wykorzystując wyniki badań wykonanych w warunkach obciążenia statycznego i dynamicznego przeprowadzono identyfikację parametrów modeli, stosując oprogramowanie przygotowane na bazie pakietu matematycznego Mathcad. Przeprowadzono symulacje numeryczne zachowania wybranych podzespołów łącząco-amortyzujących podczas powstrzymywania przez nie spadania z wysokości. Dzięki temu uzyskano dane dotyczące wpływu takich czynników, jak: masa obciążnika, droga swobodnego spadania, długość podzespołu oraz parametry jego charakterystyk siła obciążająca – wydłużenie, na przebieg powstrzymywania spadania charakteryzowany przez: drogę powstrzymywania spadania, maksymalną wartość prędkości spadania, siłę hamującą oraz energię pochłoniętą przez podzespół.
W ramach projektu opracowano materiały informacyjne dla producentów sprzętu chroniącego przed upadkiem z wysokości, w których zawarto informacje ułatwiające ocenę zachowania wybranych podzespołów łącząco-amortyzujących podczas powstrzymywania spadania z wysokości. Wyniki projektu wykorzystano w 2 publikacjach w czasopismach o zasięgu krajowym i międzynarodowym oraz zaprezentowano na konferencji naukowej, szkoleniach i seminarium.
Jednostka: Pracownia Ochron Głowy i Sprzętu Zabezpieczającego Przed Upadkiem z Wysokości
Okres realizacji: 01.01.2011 – 31.12.2012
